Sacrilegious but inevitable...V6 is the most compact of modern engine designs, allowing multi-cylinder refinement while staying within the length limit of a large four-cylinder design.
according to bimmerpost these images are part of BMW's patent filing for a V6 engine...
From this schematic we can see that the exhausts flow (unbroken line) from both banks are combined into one pipe before it is delivered to one turbocharger (marked 4a) , there is a valve (6) to the second turbocharger (5a) , which, presumably would open when there is sufficient pressure.
follow the jump for the rest of the explanation and to see two more V6 patent schematics from BMW
There is a further bypass valve on the second turbo (9) for when there is excess pressure, I assume this is where the overall boost is controlled when both turbochargers are spooling at high revs
![]() |
| Figure 1 |
according to bimmerpost these images are part of BMW's patent filing for a V6 engine...
From this schematic we can see that the exhausts flow (unbroken line) from both banks are combined into one pipe before it is delivered to one turbocharger (marked 4a) , there is a valve (6) to the second turbocharger (5a) , which, presumably would open when there is sufficient pressure.
follow the jump for the rest of the explanation and to see two more V6 patent schematics from BMW
There is a further bypass valve on the second turbo (9) for when there is excess pressure, I assume this is where the overall boost is controlled when both turbochargers are spooling at high revs
![]() |
| Figure 3 |
This is where it gets interesting, the first turbo (4) is now a twinscroll and the plumbing gets complicated where the turbocharger meets with gas from the first bank feeding the low pressure scroll first before being released by a valve (6) to feed the second turbo, while gas from the second bank feeds the high pressure scroll of the first turbo first before going thru the same valve for the second turbo.
![]() |
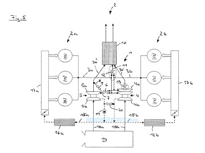
| Figure 5 |
In figure five there is another valve (12) that reliefs the entire system even before it reaches the turbochargers, I would really hate to do the plumbing here
There rest of these schematics are for V8 engines and considers the same turbocharging technology






No comments:
Post a Comment